语言

产品中心

PRODUCT CENTER

推荐新闻

您的位置:产品中心 / 无刷水泵 / 电脑水冷泵
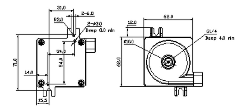
    LG62汽车水冷泵

    产品分类:无刷水泵

立即咨询
详细介绍